Он стал «отцом» послойного сечения живых тканей с помощью рентгеновских лучей, позволил врачам заглянуть внутрь человека, подробно рассмотреть структуры органов и создать единую систему по которой рассчитывается плотность ткани (подробнее о методе КТ — в нашей отдельной статье). Он посвятил себя науке без остатка, так и не обзаведшись семьей, и объединил в своей профессии радиофизику с музыкой. Гениальный инженер и увлеченный радиотехник, создатель первых компьютеров, первого компьютерного томографа и нобелевский лауреат по физиологии или медицине 1979 года.

Годфри Хаунсфилд
Годфри Ньюболд Хаунсфилд родился в маленькой деревеньке в Ноттингемшире (графство в центральных районах Великобритании). Семья обитала на просторной ферме, которую купил глава семейства сразу после Первой мировой войны для своих пятерых детей, поэтому простора для игр и творчества хватало. Годфри оказался самым поздним ребенком, сильно отстающим от своих двух братьев и двух сестер по возрасту, и поскольку интересы были разные, играли дети в разные игры, то юный инженер постоянно оставался один.
Однако, судя по воспоминаниям из автобиографии, его это нисколько не смущало, а даже наоборот – оставляло массу времени для опытов и всякого рода испытаний.
«Период между моими одиннадцатым и восемнадцатым годами остается самым ярким в моей памяти, потому что это было время моих первых попыток экспериментов, которые никогда бы не получилось сделать, живи я в городе. В деревне было множество развлечений, не ощущалось никакого давления со стороны братьев или сестер, чтобы присоединиться к игре в мяч или пойти в кино, и я легко мог проверить любую интересную идею, которая приходила мне на ум», – пишет Хаунсфилд.
Еще совсем юного Годфри крайне интересовала техника, которая стояла в сарае на заднем дворе фермы: молотилки, машины для связки снопов сена, генераторы. Он стремился разобраться, как работает каждая деталь, что приводит их в движение и чем это движение осуществляется. Но он не только разбирался – он применял свои знания на практике и пропадал в сарае сутками, работая над очередной электронной штуковиной.
Так появились разные виды электрических записывающих машин, планер, с помощью которого изобретатель постигал физику полета, даже чуть не угробивший его самодельный флайборд из смоляной бочки с водой и ацетилена. Мальчику было интересно, насколько высоко сможет поднять бочку струя воды. Тогда ему казалось, что абсолютный рекорд высоты, который ему удалось поставить, оказался на отметке в 1000 футов (около 305 метров), что, конечно, вряд ли может быть правдой.
Из-за тяги Годфри ко всему техническому гуманитарные дисциплины ему давались крайне плохо. В отличие от физики с математикой, он не любил языки, историю, обществознание и прочее, что в Магнусской школе грамматики в Ньюарке так старательно пытались ему привить. Тем не менее он все-таки научился рассуждать, что в жизни впоследствии ему сильно пригодилось.
По окончании школы молодой Хаунсфилд не сразу приступил к дальнейшему обучению, а пошел волонтером в Королевские военно-воздушные силы, поскольку наступала Вторая мировая война, в обществе вовсю обсуждались новинки военной отрасли, в том числе в авиации, и это юношу, помешанному на технике, полностью затянуло.
Там он постиг основы электроники и радиотехники, с жадностью накинувшись на всю кипу литературы, которая только была в доступе ВВС Британии. Эта тяга помогла ему отлично сдать итоговый тест, и его без лишних вопросов и сомнений забрали в Крэнвеллскую военно-воздушную радиолокационную школу, причем, в качестве преподавателя-инструктора. Там он в свободное время «развлекался» тем, что проходил обучение и в итоге сдал экзамен по радиокоммуникациям, занимался созданием широкоэкранного осциллографа и демонстрационного оборудования в качестве обучающих пособий.
Все это не осталось незамеченным для лиц высокого ранга, которые присматривались к молодым и перспективным кадрам. Благодаря ходатайству одного из таких, вице-маршала Британской авиации Джона Реджинальда Кэссиди (John Reginald Cassidy), Хаунсфилд получил грант на обучение в электротехническом инженерном колледже Фарадея в Лондоне – одном из лучших и новаторских для того времени технических институтов. Его особенность состояла в том, что тогда он был первым специализированным колледжем, обеспечивающим университетское образование (год основания – 1890-й), причем, еще до распространения инженерных факультетов. К тому же там впервые начали внедрять так называемые сэндвич-курсы, сочетающие в себе теоретическую базу с ее безотлагательным практическим применением.

Джон Кессиди
Еще во время работы в британских ВВС Хаунсфилда привлекли электронные вычислительные механизмы, в том числе компьютеры, которые в то время еще только покоились в яслях истории. Поэтому, получив элитный диплом Фарадейского колледжа, он в 1949 году подал резюме в компанию EMI (Electric and Musical Industries, также известные как EMI Records Ltd.), куда его с большой охотой взяли. Компания в то время занималась исследованиями в области электроники для коммерческого использования.
Некоторое время он занимался разработкой системы радиоуправления для оружия, руководил небольшой проектной лабораторией, но с середины 50-х плотно приступил к созданию компьютера на основе транзисторов, которые сам же и усовершенствовал. Он внедрил в них магнитный сердечник, смог добиться, чтобы они управлялись магнитным полем, и таким образом увеличил скорость обработки информации в разы, что в итоге вылилось в первый полностью транзисторный и доступный для продажи компьютер EMIDEC 1100.
Тем не менее техника развивалась стремительно, а идеи по совершенствованию, которые далее выдвигал Хаунсфилд, оказывались коммерчески не выгодными. Он решил оставить проект и на некоторое время пустить свои мысли в свободное плавание. Это оказалось верным решением, и в 1967 году к нему пришло то самое, чему можно посвятить всю оставшуюся жизнь – идея об автоматическом распознавании образов, основанных на степени поглощения рентгеновских лучей биологическими тканями. В дальнейшем она вылилась в EMI-сканер и методику вычисления в томографии, и до 1976 года этот проект поглотил исследователя полностью.

Первый прототип томографа
Интересно, что метод математического анализа данных для определения того, как биологические ткани поглощают рентгеновские лучи, разработал Алан Маклеод Кормак еще в конце 50-х годов. Он основывался на измерениях поглощения тонкого рентгеновского пучка, проходящего через тело под различными углами, что давало возможность получить тонкий поперечный срез. Поскольку пучок зондировал определенный участок с многих точек, полученная информация отображала особенности поглощения каждой отдельной части этого участка. При обычном рентгеновском исследовании определяется лишь суммарное поглощение луча, достигающего пленки, а изображения мягких тканей и костных структур при этом накладываются друг на друга. Метод Кормака же позволял воссоздать изображение внутренних деталей строения.

Алан Кормак
Однако, проблема была в том, что его алгоритмы оставались еще слишком сырыми и чисто лабораторными, поскольку в то время не существовало настолько мощных и быстрых компьютеров, которым бы удавалось обрабатывать такой массив данных. Поэтому исследование длилось крайне долго. Опубликованная работа также из-за сложности не вызвала у научной общественности особого интереса и энтузиазма.
Другое дело – Хаунсфилд. Он независимо от Кормака стал разрабатывать свой проект и придумал схожую систему, в которой тонкий линейный пучок гамма-излучения кобальта-60 пускался сквозь муляж тела и с противоположной стороны «отлавливался» счетчиком Гейгера. Забавно, что первый муляж тела состоял лишь из алюминиевых цилиндров в деревянной коробке, а его усложненная версия головы – из алюминиевого «черепа» с пластиком в качестве мозге и алюминиевых дисков в качестве опухолей.

Рисунок руки Хаунсфилда: прототип томографа. Credit: Wikimedia Commons
Эксперименты проходили крайне успешно. Разработанная инженером атематическая модель была чуть проще кормаковской и уже использовала большой компьютер для обработки данных. Усовершенствовали и рентгеновскую трубку: если раньше из-за низкоинтенсивного источника гамма-лучей, требующего длительных экспозиций, время для сканирования составляло 9 дней, то в тот момент оно снизилось до 9 часов.
Хаунсфилд с улыбкой вспоминает, как он через весь Лондон в автобусе вез в сумке свежий мозг теленка для того, чтобы посмотреть, как будет регистрироваться и обрабатываться сигнал от живых тканей. Изображения получались удачные, а контрастность снимков была такой четкой, что позволяла оценить ткани головного мозга и других органов. Изобретатель проверял прототип томографа на препаратах мозга (позаимствованных в анатомическом музее), свежем мозге и других органах, даже использовал в качестве подопытного себя самого.
\
Первая томограмма препарата мозга
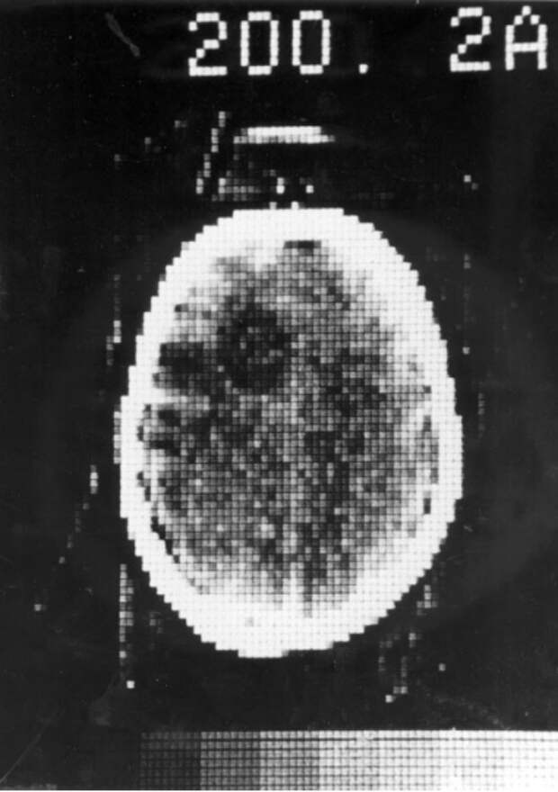
Тем не менее оставалось проверить, насколько хорошо машина сможет отличать норму от патологии. Для этого в 1971 году в госпитале Аткинсона Морли в Уимблдоне сконструировали первый клинический компьютерный томограф, и началось исследование больных с опухолями и другими заболеваниями головного мозга. В 1972 году появилась первая сканограмма головного мозга женщины с подозрением на его поражение, и полученное изображение отчетливо показало наличие темной округлой кисты.

Первая КТ пациента
Постепенно смонтировали более крупные и быстрые сканеры (в том числе КТ-сканер всего тела, созданный в 1975 году), в которых снижалось время сканирования, а в апреле 1972 года ЕМI объявила о начале производства первого коммерческого компьютерного томографа – ЕМIСТ-1000. И с этого момента в медицине началась совершенно новая эра точной прижизненной диагностики.
Кстати, нельзя не сказать и о роли рок-музыки в появлении томографии. В компании было много исследований, но главный их профит – это звукозапись. И в начале 1960-х EMI вытащила свой счастливый билет: контракт с The Beatles.
Для того, чтобы анализировать изображения, исходя из плотности тканей, Хаунсфилд придумал специальную шкалу ослабления рентгеновского излучения, согласно которой 0 единиц соответствовало чистой дистиллированной шкале, -1000 – плотности воздуха, +1000 – плотности кости, а сам диапазон значений колебался от -1024 до +3071. Таким образом, воздух на томограммах выглядит абсолютно черным, а кость – белой, поскольку костные структуры очень хорошо поглощают рентгеновские лучи.
В 1979 году Хаунсфилд и Кормак, как как человек, который первым придумал алгоритм, получили Нобелевскую премию по физиологии и медицине «за разработку компьютерной томографии». Нобелевский комитет отметил: «Когда метод был введен в медицинскую практику шесть лет назад, быстро стало очевидно, что это означало что-то революционно новое, с большими последствиями для рентгеновской диагностики и медицинскими дисциплинами, которые используют ее».
Хаунсфилд ушел в отставку из EMI в 1984 году: он не сошелся с руководством и характером, и потом финансово. Зато признанием он был не обделён – и речь не только о Нобелевской премии (наш герой представляет собой удивительную историю, когда премию по физиологии или медицине получил инженер). Еще смешнее оказалось с избранием Хаунсфилда в члены Королевского Общества. Оказалось, что у Нобелевского лауреата слишком мало научных трудов, чтобы просто представить его на избрание. И – уникальный случай – в качестве «статей» были представлены изобретения.

Хаунсфилд в 1996
А еще до Нобелевской премии, в 1976 году, Хаунсфилда удостоили высочайшей чести: Ее Величество Королева Елизавета II посвятила инженера, с тех пор – сэра Годфри – в командоры Ордена британской империи. На церемонию он заявился со счастливой мамой.

Хаунсфилд с мамой по пути в Букингемский дворец
На банкете после вручения Нобелевской премии не любивший выступать Хаунсфилд отправил отдуваться с речью Кормака, однако слово взять пришлось – все гости: врачи, ученые, королевская семья хотели услышать «человека, в одиночку изменившего медицину».
Удивительный факт: знаменитый и богатый Хаунсфилд жил очень и очень скромно, до середины 1970-х годов он не потрудился даже купить себе жилье, хотя, конечно, мог себе это позволить – и только со скромной части Нобелевской премии обустроил себе двухквартирный дом в Миддлсексе с жилыми комнатами и лабораторией.
Как Нобелевскому лауреату ему пришлось много ездить с лекциями по миру и особенно в США: статус обязывал, но Хаунсфилд всегда подчеркивал, что это «не его» и отнимает время от занятий наукой, ведь он даже не женился ради этого. В конце концов он установил правило, которому следовал до конца своих дней – он соглашался ездить на всякие конгрессы с одним условием: «он вообще ничего не должен будет делать». Хороший принцип!
Текст: Анна Хоружая
Читайте материалы нашего сайта во ВКонтакте, Яндекс-Дзен и канале в Telegram
Свежие комментарии